• Junyuebearing01@hotmail.com
  • Skype:dacbearing

DAC | NU308E Cylindrical Roller Bearing, Single Row, Straight Bore, Removable Inner Ring, High Capacity, Polyamide Cage, C3 Clearance, 40mm ID, 90mm OD, 23mm Width

FAG NU308E Cylindrical Roller Bearing in DAC, Single Row, Straight Bore, Removable Inner Ring, High Capacity, Polyamide Cage, C3 Clearance, 40mm ID, 90mm OD, 23mm Width.

 

Designation :

NU308E

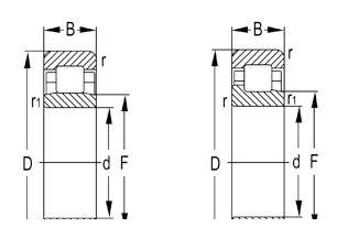
Principal Dimensions(mm)


d :

40

D:

90

B:

23

rs min :

1.5

rs1min :

1.5

Basic Load Rating (KN)


Cr :

83

Cor :

81.5

Limited Speed(rpm)


Grease :

7200

Oil :

8500

Weight


(kg) :

0.754

 

北京大方.png 

About this item

Single row cylindrical roller bearing for applications that support high radial loads.

C3 radial clearance allows thermal expansion for continuous operating temperatures up to 120 degrees C/248 degrees F.

Non-locating bearing (two ribs on the outer ring, none on the inner ring) for allowing outer and inner rings to axially displace relative to each other from the central position.

Polyamide cage is lightweight and produces less noise and vibrations than brass cages

Removable inner ring in open bearing allows for lubrication in place.


1489575550.jpg 


This cylindrical roller bearing can support heavier loads than bearings with comparable-sized ball bearings because the cylindrical shape of the rollers provides more surface area for distributing the load, and it also has a larger roller set than the standard roller design. This cylindrical roller bearing can be used to a maximum operating temperature of 120 degrees C/248 degrees F. The inner and outer rings and cylindrical rollers are made of a low-alloy, through-hardened chromium steel for durability, heat tolerance, and resistance to deformity under heavy loads. The bearing is non-locating, with two ribs on the interior circumference of the outer ring and no ribs on the exterior circumference of the inner ring, to allow the outer and inner rings to axially displace relative to each other from the central position. The glass fiber reinforced polyamide (PA66) cage prevents the rollers from coming into contact with each other during use to reduce friction, vibrations, and noise, and it weighs less and is quieter than cages made of brass. A removable inner ring in the open bearing allows for lubrication. This cylindrical bearing is for use in a broad range of applications where high radial loads are present, such as in conveyer belts, traction motors, railway car axle boxes, and oilfield mud pumps, among others.

 

Welcome to contact DAC to purchase your products!

 

http://www.dacbearing.com/products/Cylindrical-Roller-Bearings/Cylindrical-Roller-Bearings/NU-Series/NU300-Series/NU308E/tpid:31986.html

 


2021-09-30